上海聚仁电力

电力及自动化系统设备制造商
专注于35KV及以下电力二次设备产品的研发和方案提供

021-37195759 021-67183050
电力及二次设备制造商
首页> 技术文章>继电器>信号继电器

联系我们

  •  181-1722-3661
  •  021-67183050
  •  021-37190051
  •  jurendianli@163.com

  • 导轨信号继电器
  • 文章类别:信号继电器
  • 文章概述
  • 导轨信号继电器复归方式分为通电与断电两种,以便用户灵活选择;
    防震性能好,并可任意位置安装;
     

  • 询价留言

    • RX-D信号继电器概述
      RX-D导轨信号继电器用于直流操作的保护和自动控制装置中,作为故障动作的信号指示之用。本系列继电器由电子器件和进口小型继电器等构成,是电力系统中信号继电器更新换代的首选产品。与老产品相比,
      本继电器有以下优点:
      a.动作速度快,克服了原电磁式继电器不能指示真空开关快速动作信号的缺陷;
      b.既具有就地复归方式,又具有远方复归方式,可实现远程控制。复归方式有通电与断电两种,以便用户灵活选择;
      防震性能好,并可任意位置安装;
      c.既有电保持,又有磁保持,信号记忆可靠,带有多组动合触点,既可接入LED光字牌或白炽灯光字牌,也能满足远传
      要求。
      d.电流启动型启动电流通用范围宽(0.01-4A),极大地便于用户选型和压缩库存。
      e.既可导轨安装也可面板开孔安装。
      RX-D信号继电器型号及命名
      RX-D信号继电器型号及命名
      RX-D信号继电器主要技术参数
      1、继电器启动值:电压型启动电压不小于额定电压的50%,不大于额定电压的70%;电流启动型的启动电流范围在0.01-4之间通用。
      2、功率消耗:
      a.启动回路:
      电压启动型不大于3W;电流启动型启动电流为2A时,不大于6W。
      b.辅助电源回路(动作时):
      不大于5.5W。
      3、动作时间:不大于15ms。
      RX-D信号继电器接线图
      RX-D信号继电器主要技术参数
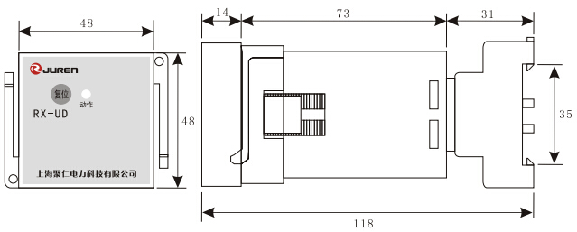
      RX-D信号继电器外形及开孔尺寸
      RX-D信号继电器外形及开孔尺寸